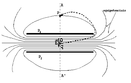
Um capacitor é formado por duas placas paralelas, separadas
[tex3]10mm[/tex3] entre si. Considere as placas do capacitor perpendiculares ao plano do papel. Na figura são mostradas as intersecções das placas
[tex3]P_1[/tex3] e
[tex3]P_2[/tex3] e de algumas superfícies equipotenciais com o plano do papel. Ao longo do eixo médio
[tex3]AA’[/tex3], o campo elétrico é uniforme entre as placas e seu valor é
[tex3]E=10^5V/m[/tex3]. As superfícies equipotenciais indicadas estão igualmente espaçadas de
[tex3]1mm[/tex3] ao longo do eixo. Uma carga
[tex3]q=10^{-14}C[/tex3] é levada do ponto O ao ponto P, indicados na figura. O trabalho realizado é:

- Sem título.png (14.83 KiB) Exibido 1674 vezes
a)
[tex3]0J[/tex3]
b)
[tex3]5\cdot 10^{-12}J[/tex3]
c)
[tex3]1\cdot 10^{-11}J[/tex3]
d)
[tex3]4\cdot 10^{-12}J[/tex3]
e)
[tex3]1\cdot 10^{-10}J[/tex3]