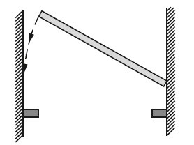
(UF-RJ) Uma prateleira de um metro de comprimento e 4,4 cm de espessura deve ser encaixada entre duas paredes planas e paralelas. Por razões operacionais, a prateleira deve ser colocada enviesada (inclinada), para depois ser girada até a posição final, como indica a figura.

- r2.jpg (8.95 KiB) Exibido 666 vezes
Se a distância entre as paredes é de um metro e um milímetro, é possível encaixar a prateleira?