Maratonas de Física ⇒ Maratona de Física IME/ITA
- theblackmamba Offline
- Mensagens: 3723
- Registrado em: 23 Ago 2011, 15:43
- Localização: São Paulo - SP
- Agradeceu: 806 vezes
- Agradeceram: 2294 vezes
Nov 2011
20
19:47
Re: Maratona de Física IME/ITA
Solução do Problema 10
Decompondo as forças que agem sobre o corpo e sendo um movimento circular uniforme descrito pela partícula temos que:
[tex3]F_y = P = mg[/tex3]
[tex3]F_x = F_{cp} = m w^2 r[/tex3]
No triângulo BDE:
[tex3]\tg \alpha = \frac{F_y}{F_x} = \frac{\cancel{m}g}{\cancel{m}w^2 r} = \boxed{\frac{g}{w^2 r}}[/tex3]
No triângulo ABC:
[tex3]\tg \alpha = \frac{r}{h} \Rightarrow r = \tg \alpha\cdot h[/tex3]
Relacionando (I) em (II), vem:
[tex3]\tg \alpha = \frac{g}{w^2 \cdot h \cdot \tg \alpha}[/tex3]
[tex3]\boxed{h = \frac{g}{w^2 \cdot \tg^2 \alpha}}[/tex3] ou [tex3]\boxed{h = \frac{g}{w^2} \cdot \cotg^2 \alpha}[/tex3] (D)
-------------------------------------------------------------------
Problema 11
(IME - 1977/78) Considerando a figura, determine a expressão, em função do peso W, da força vertical exercida pelo solo sobre a barra AD.
Decompondo as forças que agem sobre o corpo e sendo um movimento circular uniforme descrito pela partícula temos que:
[tex3]F_y = P = mg[/tex3]
[tex3]F_x = F_{cp} = m w^2 r[/tex3]
No triângulo BDE:
[tex3]\tg \alpha = \frac{F_y}{F_x} = \frac{\cancel{m}g}{\cancel{m}w^2 r} = \boxed{\frac{g}{w^2 r}}[/tex3]
No triângulo ABC:
[tex3]\tg \alpha = \frac{r}{h} \Rightarrow r = \tg \alpha\cdot h[/tex3]
Relacionando (I) em (II), vem:
[tex3]\tg \alpha = \frac{g}{w^2 \cdot h \cdot \tg \alpha}[/tex3]
[tex3]\boxed{h = \frac{g}{w^2 \cdot \tg^2 \alpha}}[/tex3] ou [tex3]\boxed{h = \frac{g}{w^2} \cdot \cotg^2 \alpha}[/tex3] (D)
-------------------------------------------------------------------
Problema 11
(IME - 1977/78) Considerando a figura, determine a expressão, em função do peso W, da força vertical exercida pelo solo sobre a barra AD.
Editado pela última vez por theblackmamba em 20 Nov 2011, 19:47, em um total de 2 vezes.
"A coisa mais incompreensível do universo é que ele é compreensível"
- Albert Einstein
- Albert Einstein
- FilipeCaceres Offline
- Mensagens: 2504
- Registrado em: 16 Nov 2009, 20:47
- Agradeceu: 79 vezes
- Agradeceram: 974 vezes
Nov 2011
20
22:00
Re: Maratona de Física IME/ITA
Solução do Problema 11
Olhando está imagem horrível encontramos.
[tex3]T_1\cos 45+T_2\cos 30=N[/tex3] (1)
[tex3]T_1\sen 45=T_2\sen 30[/tex3] (2)
[tex3]T_2\sen 60=W[/tex3] (3)
De (2) vem
[tex3]T_1\frac{\sqrt{2}}{2}=T_2\frac{1}{2}[/tex3]
[tex3]T_1=\frac{T_2}{\sqrt{2}}[/tex3] (4)
De (3) vem
[tex3]T_2=\frac{2W}{\sqrt{3}}[/tex3] (5)
De (5) em (4) vem
[tex3]T_1=\frac{2W}{\sqrt{2}\sqrt{3}}[/tex3] (6)
De (5),(6) em (1) vem
[tex3]\frac{2W}{\sqrt{2}\sqrt{3}}.\frac{\sqrt{2}}{2}+\frac{2W}{\sqrt{3}}.\frac{\sqrt{3}}{2}=N[/tex3]
[tex3]\frac{W}{\sqrt{3}}+W=N[/tex3]
A expressão desejada vale:
[tex3]\boxed{N=W\(1+\frac{\sqrt{3}}{3}\)}[/tex3]
-------------------------------------------
Problema 12
(IME -1978) Os blocos A e B da figura tem pesos iguais. Determine o coeficiente de atrito mínimo para manter o sistema em equilíbrio. Despreza o peso da corda e o atrito na roldana.
Resposta:
[tex3]\mu =\frac{\sqrt{3}-\sqrt{2}}{\sqrt{2}+1}[/tex3]
[tex3]T_1\cos 45+T_2\cos 30=N[/tex3] (1)
[tex3]T_1\sen 45=T_2\sen 30[/tex3] (2)
[tex3]T_2\sen 60=W[/tex3] (3)
De (2) vem
[tex3]T_1\frac{\sqrt{2}}{2}=T_2\frac{1}{2}[/tex3]
[tex3]T_1=\frac{T_2}{\sqrt{2}}[/tex3] (4)
De (3) vem
[tex3]T_2=\frac{2W}{\sqrt{3}}[/tex3] (5)
De (5) em (4) vem
[tex3]T_1=\frac{2W}{\sqrt{2}\sqrt{3}}[/tex3] (6)
De (5),(6) em (1) vem
[tex3]\frac{2W}{\sqrt{2}\sqrt{3}}.\frac{\sqrt{2}}{2}+\frac{2W}{\sqrt{3}}.\frac{\sqrt{3}}{2}=N[/tex3]
[tex3]\frac{W}{\sqrt{3}}+W=N[/tex3]
A expressão desejada vale:
[tex3]\boxed{N=W\(1+\frac{\sqrt{3}}{3}\)}[/tex3]
-------------------------------------------
Problema 12
(IME -1978) Os blocos A e B da figura tem pesos iguais. Determine o coeficiente de atrito mínimo para manter o sistema em equilíbrio. Despreza o peso da corda e o atrito na roldana.
Resposta
Resposta:
[tex3]\mu =\frac{\sqrt{3}-\sqrt{2}}{\sqrt{2}+1}[/tex3]
Editado pela última vez por FilipeCaceres em 20 Nov 2011, 22:00, em um total de 2 vezes.
- lecko Offline
- Mensagens: 450
- Registrado em: 03 Nov 2010, 20:50
- Agradeceu: 5 vezes
- Agradeceram: 24 vezes
Nov 2011
22
16:21
Re: Maratona de Física IME/ITA
Solução do Problema 12
Muito boa essa questão hein Filipe:
Aí vai uma representação um tanto quanto tosca das forças e do que fiz por representação: Bom, vejamos primeiro quem é maior: [tex3]P_{t1}[/tex3] ou [tex3]P_{t2}[/tex3]
[tex3]P_{t1}=P\cdot \sen 60 \rightarrow P_{t1}=\frac{P\cdot \sqrt{3}}{2}[/tex3]
[tex3]P_{t2}=P\cdot \sen 45 \rightarrow P_{t2}=\frac{P\cdot \sqrt{2}}{2}[/tex3] assim vemos que o sistema tende a se movimentar para a esquerda, ou seja, para o lado de [tex3]P_{t1}[/tex3].
Basta agora saber a resultante de cada sistema...sabe-se que a tração do fio é [tex3]T[/tex3].
a resultante em [tex3]2[/tex3] é : [tex3]F_{r2}=T-P_{t2}-fat_{2}[/tex3]
e em [tex3]1[/tex3]: [tex3]F_{r1}=P_{t1}-T-fat_{1}[/tex3]
somando as duas resultantes temos:
[tex3]F_{r1}+F_{r2}=P_{t1}-P_{t2}-fat_1-fat_2[/tex3] como o sistema parmanece em repouso [tex3](a=0)[/tex3] então a resultante é nula:
[tex3]0=P_{t1}-P_{t2}-fat_1-fat_2 \rightarrow fat_1+fat_2=P_{t1}-P_{t2}[/tex3]
[tex3]fat_1=\mu \cdot P\cdot \cos 60[/tex3] e [tex3]fat_2=\mu\cdot p\cdot \cos 45[/tex3] substituindo ...
[tex3]\mu \cdot P\cdot \cos 60+\mu\cdot P\cdot \cos 45=P\cdot \sen 60-P\cdot \sen 45[/tex3]
[tex3]\mu \cdot \cancel{P}\cdot \cos 60+\mu\cdot \cancel{P}\cdot \cos 45=\cancel{P}\cdot \sen 60-\cancel{P}\cdot \sen 45[/tex3]
[tex3]\mu(\cos 60+\cos 45)=\cos 60-\cos 45[/tex3]
[tex3]\mu=\frac{\frac{\sqrt{3}-\sqrt{2}}{2}}{\frac{\sqrt{2}+1}{2}} \rightarrow \mu=\frac{\sqrt{3}-\sqrt{2}}{\sqrt{2}+1}[/tex3]
------------------------------------------------------------------------
Problema 13
(IME - 1993) Considere o veículo de massa [tex3]M[/tex3] percorrendo uma curva inclinada [tex3]V[/tex3]. Supondo que o coeficiente de atrito dos pneus com o solo seja [tex3]\mu[/tex3], calcule as velocidades mínima e máxima com que este veículo pode percorrer esta curva sem deslizamento.
Não possuo o gabarito.
Muito boa essa questão hein Filipe:
Aí vai uma representação um tanto quanto tosca das forças e do que fiz por representação: Bom, vejamos primeiro quem é maior: [tex3]P_{t1}[/tex3] ou [tex3]P_{t2}[/tex3]
[tex3]P_{t1}=P\cdot \sen 60 \rightarrow P_{t1}=\frac{P\cdot \sqrt{3}}{2}[/tex3]
[tex3]P_{t2}=P\cdot \sen 45 \rightarrow P_{t2}=\frac{P\cdot \sqrt{2}}{2}[/tex3] assim vemos que o sistema tende a se movimentar para a esquerda, ou seja, para o lado de [tex3]P_{t1}[/tex3].
Basta agora saber a resultante de cada sistema...sabe-se que a tração do fio é [tex3]T[/tex3].
a resultante em [tex3]2[/tex3] é : [tex3]F_{r2}=T-P_{t2}-fat_{2}[/tex3]
e em [tex3]1[/tex3]: [tex3]F_{r1}=P_{t1}-T-fat_{1}[/tex3]
somando as duas resultantes temos:
[tex3]F_{r1}+F_{r2}=P_{t1}-P_{t2}-fat_1-fat_2[/tex3] como o sistema parmanece em repouso [tex3](a=0)[/tex3] então a resultante é nula:
[tex3]0=P_{t1}-P_{t2}-fat_1-fat_2 \rightarrow fat_1+fat_2=P_{t1}-P_{t2}[/tex3]
[tex3]fat_1=\mu \cdot P\cdot \cos 60[/tex3] e [tex3]fat_2=\mu\cdot p\cdot \cos 45[/tex3] substituindo ...
[tex3]\mu \cdot P\cdot \cos 60+\mu\cdot P\cdot \cos 45=P\cdot \sen 60-P\cdot \sen 45[/tex3]
[tex3]\mu \cdot \cancel{P}\cdot \cos 60+\mu\cdot \cancel{P}\cdot \cos 45=\cancel{P}\cdot \sen 60-\cancel{P}\cdot \sen 45[/tex3]
[tex3]\mu(\cos 60+\cos 45)=\cos 60-\cos 45[/tex3]
[tex3]\mu=\frac{\frac{\sqrt{3}-\sqrt{2}}{2}}{\frac{\sqrt{2}+1}{2}} \rightarrow \mu=\frac{\sqrt{3}-\sqrt{2}}{\sqrt{2}+1}[/tex3]
------------------------------------------------------------------------
Problema 13
(IME - 1993) Considere o veículo de massa [tex3]M[/tex3] percorrendo uma curva inclinada [tex3]V[/tex3]. Supondo que o coeficiente de atrito dos pneus com o solo seja [tex3]\mu[/tex3], calcule as velocidades mínima e máxima com que este veículo pode percorrer esta curva sem deslizamento.
Resposta
Não possuo o gabarito.
Editado pela última vez por lecko em 22 Nov 2011, 16:21, em um total de 2 vezes.
- FilipeCaceres Offline
- Mensagens: 2504
- Registrado em: 16 Nov 2009, 20:47
- Agradeceu: 79 vezes
- Agradeceram: 974 vezes
Nov 2011
22
22:24
Re: Maratona de Física IME/ITA
Soluçaod o Problema 13
Para a velocidade máxima temos o seguinte diagrama. Na vertical:
[tex3]N\cos \theta=F_{at}\sen \theta +P[/tex3] (1)
No eixo Radial:
[tex3]N\sen \theta +F_{at}\cos \theta=\frac{mv^2}{R}[/tex3] (2)
De (1)
[tex3]N\cos \theta=\mu N\sen \theta +mg[/tex3]
[tex3]N=\frac{mg}{\cos \theta -\mu \sen \theta}[/tex3] (3)
De (3) em (2)
[tex3]\left(\frac{mg}{\cos \theta -\mu \sen \theta}\right)\sen \theta +\mu\left(\frac{mg}{\cos \theta -\mu \sen \theta}\right)\cos \theta=\frac{mv^2}{R}[/tex3]
[tex3]\boxed{v_{max}=\sqrt{\frac{Rg(\cos \theta+\mu \cos \theta)}{\cos \theta-\mu \sen \theta}}}[/tex3]
Para a velocidade mínima a força de atrito fica para cima.
Na vertical:
[tex3]N\cos \theta+F_{at}\sen \theta =P[/tex3] (1)
No eixo Radial:
[tex3]N\sen \theta -F_{at}\cos \theta=\frac{mv^2}{R}[/tex3] (2)
De (1)
[tex3]N\cos \theta+\mu N\sen \theta =mg[/tex3]
[tex3]N=\frac{mg}{\cos \theta +\mu \sen \theta}[/tex3] (3)
De (3) em (2)
[tex3]\left(\frac{mg}{\cos \theta +\mu \sen \theta}\right)\sen \theta -\mu\left(\frac{mg}{\cos \theta +\mu \sen \theta}\right)\cos \theta=\frac{mv^2}{R}[/tex3]
[tex3]\boxed{v_{min}=\sqrt{\frac{Rg(\cos \theta-\mu \cos \theta)}{\cos \theta+\mu \sen \theta}}}[/tex3]
Problema 14
(IME - 81/82) Um corpo que repousa sobre uma superfície rugosa horizontal recebe um impacto horizontal e desliza sobre a referida superfície durante 5 segundos, quando pára, tendo percorrido 25m. Determine o coeficiente de atrito entre o corpo e
a superfície horizontal. Considere [tex3]g = 10 m/s^2.[/tex3]
Para a velocidade máxima temos o seguinte diagrama. Na vertical:
[tex3]N\cos \theta=F_{at}\sen \theta +P[/tex3] (1)
No eixo Radial:
[tex3]N\sen \theta +F_{at}\cos \theta=\frac{mv^2}{R}[/tex3] (2)
De (1)
[tex3]N\cos \theta=\mu N\sen \theta +mg[/tex3]
[tex3]N=\frac{mg}{\cos \theta -\mu \sen \theta}[/tex3] (3)
De (3) em (2)
[tex3]\left(\frac{mg}{\cos \theta -\mu \sen \theta}\right)\sen \theta +\mu\left(\frac{mg}{\cos \theta -\mu \sen \theta}\right)\cos \theta=\frac{mv^2}{R}[/tex3]
[tex3]\boxed{v_{max}=\sqrt{\frac{Rg(\cos \theta+\mu \cos \theta)}{\cos \theta-\mu \sen \theta}}}[/tex3]
Para a velocidade mínima a força de atrito fica para cima.
Na vertical:
[tex3]N\cos \theta+F_{at}\sen \theta =P[/tex3] (1)
No eixo Radial:
[tex3]N\sen \theta -F_{at}\cos \theta=\frac{mv^2}{R}[/tex3] (2)
De (1)
[tex3]N\cos \theta+\mu N\sen \theta =mg[/tex3]
[tex3]N=\frac{mg}{\cos \theta +\mu \sen \theta}[/tex3] (3)
De (3) em (2)
[tex3]\left(\frac{mg}{\cos \theta +\mu \sen \theta}\right)\sen \theta -\mu\left(\frac{mg}{\cos \theta +\mu \sen \theta}\right)\cos \theta=\frac{mv^2}{R}[/tex3]
[tex3]\boxed{v_{min}=\sqrt{\frac{Rg(\cos \theta-\mu \cos \theta)}{\cos \theta+\mu \sen \theta}}}[/tex3]
Problema 14
(IME - 81/82) Um corpo que repousa sobre uma superfície rugosa horizontal recebe um impacto horizontal e desliza sobre a referida superfície durante 5 segundos, quando pára, tendo percorrido 25m. Determine o coeficiente de atrito entre o corpo e
a superfície horizontal. Considere [tex3]g = 10 m/s^2.[/tex3]
Editado pela última vez por FilipeCaceres em 22 Nov 2011, 22:24, em um total de 2 vezes.
- theblackmamba Offline
- Mensagens: 3723
- Registrado em: 23 Ago 2011, 15:43
- Localização: São Paulo - SP
- Agradeceu: 806 vezes
- Agradeceram: 2294 vezes
Nov 2011
23
18:06
Re: Maratona de Física IME/ITA
Solução do Problema 14
Temos que a força de atrito é igual a resultante no corpo, assim:
[tex3]F_{at} = N \mu[/tex3]
[tex3]\cancel{m}.a = \cancel{m}.g.\mu[/tex3]
[tex3]\mu = \frac{a}{10}[/tex3]
Calculando a aceleração [tex3](V_o = 0)[/tex3]:
[tex3]S = \frac{a.t^2}{2}[/tex3]
[tex3]25 = \frac{a.5^2}{2}[/tex3]
[tex3]a = 2m.s^{-2}[/tex3]
Portanto,
[tex3]\mu = \frac{2}{10} = \boxed{0,2}[/tex3]
---------------------------------------------------------
Problema 15
(IME-1982) Determinar a massa necessária ao bloco A para que o bloco B, partindo do repouso, do repouso, suba 0,75m ao longo do plano inclinado liso, em um tempo t = 2s. Desprezar as massas das polias e dos tirantes e as resistências passivas ao movimento. A massa do bloco B vale 5kg e a aceleração da gravidade deve ser considerada a [tex3]10m.s^{-2}[/tex3].
Temos que a força de atrito é igual a resultante no corpo, assim:
[tex3]F_{at} = N \mu[/tex3]
[tex3]\cancel{m}.a = \cancel{m}.g.\mu[/tex3]
[tex3]\mu = \frac{a}{10}[/tex3]
Calculando a aceleração [tex3](V_o = 0)[/tex3]:
[tex3]S = \frac{a.t^2}{2}[/tex3]
[tex3]25 = \frac{a.5^2}{2}[/tex3]
[tex3]a = 2m.s^{-2}[/tex3]
Portanto,
[tex3]\mu = \frac{2}{10} = \boxed{0,2}[/tex3]
---------------------------------------------------------
Problema 15
(IME-1982) Determinar a massa necessária ao bloco A para que o bloco B, partindo do repouso, do repouso, suba 0,75m ao longo do plano inclinado liso, em um tempo t = 2s. Desprezar as massas das polias e dos tirantes e as resistências passivas ao movimento. A massa do bloco B vale 5kg e a aceleração da gravidade deve ser considerada a [tex3]10m.s^{-2}[/tex3].
Editado pela última vez por theblackmamba em 23 Nov 2011, 18:06, em um total de 2 vezes.
"A coisa mais incompreensível do universo é que ele é compreensível"
- Albert Einstein
- Albert Einstein
- FilipeCaceres Offline
- Mensagens: 2504
- Registrado em: 16 Nov 2009, 20:47
- Agradeceu: 79 vezes
- Agradeceram: 974 vezes
Nov 2011
25
22:54
Re: Maratona de Física IME/ITA
Solução do Problema 15
Seja [tex3]a_1[/tex3] a aceleração do bloco A e [tex3]a_2[/tex3] a aceleração do bloco B.
Da cinemática temos,
[tex3]y=y_0+v_0t+\frac{1}{2}a_2t^2[/tex3]
[tex3]0,75=\frac{1}{2}a_2\cdot 4[/tex3]
[tex3]a_2=\frac{3}{8}m/s^2[/tex3]
Da dinâmica temos,
Bloco B:
[tex3]T-m_bg\sen 60=m_ba_2[/tex3]
[tex3]T=m_b(g\sen 60+a_2)[/tex3]
Bloco A:
[tex3]m_ag-3T=m_a\cdot a_1[/tex3]
Também temos que,
[tex3]a_2=3a_1[/tex3]
Desenvolvendo,
[tex3]m_a(g-\frac{1}{3}a_2)=3T[/tex3]
[tex3]m_a(g-\frac{1}{3}a_2)=3m_b(g\sen 60+a_2)[/tex3]
[tex3]m_a=\frac{3m_b(g\sen 60+a_2)}{g-\frac{1}{3}a_2}[/tex3]
Substituindo os valores,
[tex3]\boxed{m_a=\frac{15}{79}(40\sqrt{3}+3)\,kg}[/tex3]. Valor muito estanho.
-------------------------------------------------------------------
Problema 16
(ITA - 1990) Uma pequena esfera penetra com velocidade [tex3]v[/tex3] em um tubo oco, recurvado, colocado num plano vertical, como mostra a figura, num local onde a aceleração da gravidade é [tex3]g[/tex3]. Supondo que a esfera percorra a região interior ao tubo sem atrito e acabe saindo horizontalmente pela extremidade, pergunta-se: que distância, [tex3]x[/tex3], horizontal, ela percorrerá até tocar o solo ?
a) [tex3]x = \sqrt{\frac{3R^2}{g} \cdot \(\frac{v^2}{R} + g^2R\)}[/tex3]
b) [tex3]x = \sqrt{\frac{3R^2}{g}}[/tex3]
c) [tex3]x = v\cdot \sqrt{\frac{3R^2}{g}}[/tex3]
d) [tex3]x = \sqrt{\frac{3R}{g} \cdot (v^2 + gR})[/tex3]
e) [tex3]\text{Outro valor}[/tex3].
Gabarito: D
Seja [tex3]a_1[/tex3] a aceleração do bloco A e [tex3]a_2[/tex3] a aceleração do bloco B.
Da cinemática temos,
[tex3]y=y_0+v_0t+\frac{1}{2}a_2t^2[/tex3]
[tex3]0,75=\frac{1}{2}a_2\cdot 4[/tex3]
[tex3]a_2=\frac{3}{8}m/s^2[/tex3]
Da dinâmica temos,
Bloco B:
[tex3]T-m_bg\sen 60=m_ba_2[/tex3]
[tex3]T=m_b(g\sen 60+a_2)[/tex3]
Bloco A:
[tex3]m_ag-3T=m_a\cdot a_1[/tex3]
Também temos que,
[tex3]a_2=3a_1[/tex3]
Desenvolvendo,
[tex3]m_a(g-\frac{1}{3}a_2)=3T[/tex3]
[tex3]m_a(g-\frac{1}{3}a_2)=3m_b(g\sen 60+a_2)[/tex3]
[tex3]m_a=\frac{3m_b(g\sen 60+a_2)}{g-\frac{1}{3}a_2}[/tex3]
Substituindo os valores,
[tex3]\boxed{m_a=\frac{15}{79}(40\sqrt{3}+3)\,kg}[/tex3]. Valor muito estanho.
-------------------------------------------------------------------
Problema 16
(ITA - 1990) Uma pequena esfera penetra com velocidade [tex3]v[/tex3] em um tubo oco, recurvado, colocado num plano vertical, como mostra a figura, num local onde a aceleração da gravidade é [tex3]g[/tex3]. Supondo que a esfera percorra a região interior ao tubo sem atrito e acabe saindo horizontalmente pela extremidade, pergunta-se: que distância, [tex3]x[/tex3], horizontal, ela percorrerá até tocar o solo ?
a) [tex3]x = \sqrt{\frac{3R^2}{g} \cdot \(\frac{v^2}{R} + g^2R\)}[/tex3]
b) [tex3]x = \sqrt{\frac{3R^2}{g}}[/tex3]
c) [tex3]x = v\cdot \sqrt{\frac{3R^2}{g}}[/tex3]
d) [tex3]x = \sqrt{\frac{3R}{g} \cdot (v^2 + gR})[/tex3]
e) [tex3]\text{Outro valor}[/tex3].
Resposta
Gabarito: D
Editado pela última vez por FilipeCaceres em 25 Nov 2011, 22:54, em um total de 3 vezes.
- lecko Offline
- Mensagens: 450
- Registrado em: 03 Nov 2010, 20:50
- Agradeceu: 5 vezes
- Agradeceram: 24 vezes
Nov 2011
26
17:59
Re: Maratona de Física IME/ITA
Muito boa essa questão hein ^^
Solução do Problema 16
Pela conservação da Energia Mecânica:
[tex3]\begin{cases}
E_{mec(a)}=\frac{mv^2}{2}+mg.2R \\ E_{mec(b)}=\frac{mv'^2}{2}+\frac{mg3R}{2}
\end{cases}[/tex3] através dessas duas equações temos:
[tex3]v'=\sqrt{v^2+gR}[/tex3]
estando agora a esfera saindo do tubo com velocidade [tex3]v'[/tex3], temos um lançamento.
Para o eixo [tex3]y[/tex3]: [tex3]\frac{3R}{2}=\frac{gt^2}{2} \rightarrow t=\sqrt{\frac{3R}{g}}[/tex3]
Para o eixo [tex3]x[/tex3]: [tex3]S=v'.t[/tex3]
através disso temos:
[tex3]S=\left(\sqrt{\frac{3R}{g}}\right)\cdot\left(\sqrt{v^2+gR}\right)[/tex3] como [tex3]S=x[/tex3]
[tex3]x=\sqrt{\frac{3R}{g}(v^2+gR)}[/tex3]
-------------------------------------------------------------------------------------------------
Problema 17
(ITA-2005) Um objeto pontual de massa [tex3]m[/tex3] desliza com velocidade inicial [tex3]\vec{v}[/tex3], horizontal, do topo de uma esfera em repouso, de raio R. Ao escorregar pela superfície, o objeto sofre uma força de atrito de módulo constante dado por [tex3]f=\frac{7mg}{4 \pi}[/tex3]. Para que o objeto se desprenda da superfície esférica após percorrer um arco de [tex3]60[/tex3] º (veja figura), sua velocidade inicial deve ter módulo de :
A) [tex3]\sqrt{\frac{2Rg}{3}}[/tex3]
B) [tex3]\frac{ \sqrt{3Rg}}{2}[/tex3]
C) [tex3]\frac{ \sqrt{6Rg}}{2}[/tex3]
D) [tex3]3 \sqrt{\frac{Rg}{2}}[/tex3]
E) [tex3]3\sqrt{Rg}[/tex3]
[tex3]Letra[/tex3] [tex3]A[/tex3]
Solução do Problema 16
Pela conservação da Energia Mecânica:
[tex3]\begin{cases}
E_{mec(a)}=\frac{mv^2}{2}+mg.2R \\ E_{mec(b)}=\frac{mv'^2}{2}+\frac{mg3R}{2}
\end{cases}[/tex3] através dessas duas equações temos:
[tex3]v'=\sqrt{v^2+gR}[/tex3]
estando agora a esfera saindo do tubo com velocidade [tex3]v'[/tex3], temos um lançamento.
Para o eixo [tex3]y[/tex3]: [tex3]\frac{3R}{2}=\frac{gt^2}{2} \rightarrow t=\sqrt{\frac{3R}{g}}[/tex3]
Para o eixo [tex3]x[/tex3]: [tex3]S=v'.t[/tex3]
através disso temos:
[tex3]S=\left(\sqrt{\frac{3R}{g}}\right)\cdot\left(\sqrt{v^2+gR}\right)[/tex3] como [tex3]S=x[/tex3]
[tex3]x=\sqrt{\frac{3R}{g}(v^2+gR)}[/tex3]
-------------------------------------------------------------------------------------------------
Problema 17
(ITA-2005) Um objeto pontual de massa [tex3]m[/tex3] desliza com velocidade inicial [tex3]\vec{v}[/tex3], horizontal, do topo de uma esfera em repouso, de raio R. Ao escorregar pela superfície, o objeto sofre uma força de atrito de módulo constante dado por [tex3]f=\frac{7mg}{4 \pi}[/tex3]. Para que o objeto se desprenda da superfície esférica após percorrer um arco de [tex3]60[/tex3] º (veja figura), sua velocidade inicial deve ter módulo de :
A) [tex3]\sqrt{\frac{2Rg}{3}}[/tex3]
B) [tex3]\frac{ \sqrt{3Rg}}{2}[/tex3]
C) [tex3]\frac{ \sqrt{6Rg}}{2}[/tex3]
D) [tex3]3 \sqrt{\frac{Rg}{2}}[/tex3]
E) [tex3]3\sqrt{Rg}[/tex3]
Resposta
[tex3]Letra[/tex3] [tex3]A[/tex3]
Editado pela última vez por lecko em 26 Nov 2011, 17:59, em um total de 2 vezes.
- theblackmamba Offline
- Mensagens: 3723
- Registrado em: 23 Ago 2011, 15:43
- Localização: São Paulo - SP
- Agradeceu: 806 vezes
- Agradeceram: 2294 vezes
Nov 2011
26
20:40
Re: Maratona de Física IME/ITA
Também foi uma excelente questão!
Solução do Problema 17
Após o desprendimento (depois que completar os 60º), a força de atrito se anula e o peso do corpo será a resultante.
Decompondo a força peso temos que a componente normal tem a função de resultante centrípeta.
[tex3]P_y = F_cp[/tex3]
[tex3]m.g.cos60 = \frac{m.V^2}{2} \Rightarrow V^2 = \frac{gR}{2}[/tex3] (velocidade no ponto de desprendimento)
Nesta distância percorrida percorrida pelo corpo podemos usar o teorema da energia cinética:
[tex3]\tau_{peso} + \tau_{atrito} = \frac{m.V^2}{2} - \frac{m.(V_o)^2}{2}[/tex3]
[tex3]\cancel{m}.g.\frac{R}{2} - \frac{7\cancel{m}g}{4 \pi}.\frac{2\pi.R}{6} = \frac{\cancel{m}}{2}.\frac{gR}{2} - \frac{\cancel{m}.(V_o)^2}{2}[/tex3]
[tex3]\frac{gR}{2} - \frac{7}{12}.gR = \frac{gR}{4} - \frac{(V_o)^2}{2}[/tex3] simplificando e tirando mmc:
[tex3]6gR - 7gR = 3gR - 6.V_o ^2[/tex3]
[tex3]\boxed{V_o = \sqrt{\frac{2gR}{3}}}[/tex3]
---------------------------------------------------------
Problema 18
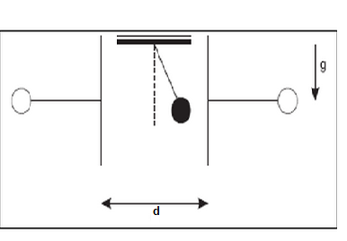
(ITA - 2001) Uma esfera de massa m e carga q está suspensa por um fio frágil e inextensível, , feito de um material eletricamente isolante. A esfera se encontra entre as placas paralelas de um capacitor plano, como mostra a figura. A distância entre as placas é d, a diferença de potencial é V e o esforço máximo que o fio pode suportar é igual ao quádrupulo do peso da esfera. Para que a esfera permaneça imóvel, em equilíbrio estável, é necessário que:
a) [tex3]\(\frac{qV}{d}\)^2 \lt 15mg[/tex3]
b) [tex3]\(\frac{qV}{d}\)^2 \lt 4(mg)^2[/tex3]
c) [tex3]\(\frac{qV}{d}\)^2 \lt 15(mg)^2[/tex3]
d) [tex3]\(\frac{qV}{d}\)^2 \lt 16(mg)^2[/tex3]
e) [tex3]\(\frac{qV}{d}\)^2 \gt 15mg[/tex3]
Gabarito: C
Solução do Problema 17
Após o desprendimento (depois que completar os 60º), a força de atrito se anula e o peso do corpo será a resultante.
Decompondo a força peso temos que a componente normal tem a função de resultante centrípeta.
[tex3]P_y = F_cp[/tex3]
[tex3]m.g.cos60 = \frac{m.V^2}{2} \Rightarrow V^2 = \frac{gR}{2}[/tex3] (velocidade no ponto de desprendimento)
Nesta distância percorrida percorrida pelo corpo podemos usar o teorema da energia cinética:
[tex3]\tau_{peso} + \tau_{atrito} = \frac{m.V^2}{2} - \frac{m.(V_o)^2}{2}[/tex3]
[tex3]\cancel{m}.g.\frac{R}{2} - \frac{7\cancel{m}g}{4 \pi}.\frac{2\pi.R}{6} = \frac{\cancel{m}}{2}.\frac{gR}{2} - \frac{\cancel{m}.(V_o)^2}{2}[/tex3]
[tex3]\frac{gR}{2} - \frac{7}{12}.gR = \frac{gR}{4} - \frac{(V_o)^2}{2}[/tex3] simplificando e tirando mmc:
[tex3]6gR - 7gR = 3gR - 6.V_o ^2[/tex3]
[tex3]\boxed{V_o = \sqrt{\frac{2gR}{3}}}[/tex3]
---------------------------------------------------------
Problema 18
(ITA - 2001) Uma esfera de massa m e carga q está suspensa por um fio frágil e inextensível, , feito de um material eletricamente isolante. A esfera se encontra entre as placas paralelas de um capacitor plano, como mostra a figura. A distância entre as placas é d, a diferença de potencial é V e o esforço máximo que o fio pode suportar é igual ao quádrupulo do peso da esfera. Para que a esfera permaneça imóvel, em equilíbrio estável, é necessário que:
a) [tex3]\(\frac{qV}{d}\)^2 \lt 15mg[/tex3]
b) [tex3]\(\frac{qV}{d}\)^2 \lt 4(mg)^2[/tex3]
c) [tex3]\(\frac{qV}{d}\)^2 \lt 15(mg)^2[/tex3]
d) [tex3]\(\frac{qV}{d}\)^2 \lt 16(mg)^2[/tex3]
e) [tex3]\(\frac{qV}{d}\)^2 \gt 15mg[/tex3]
Resposta
Gabarito: C
Editado pela última vez por theblackmamba em 26 Nov 2011, 20:40, em um total de 2 vezes.
"A coisa mais incompreensível do universo é que ele é compreensível"
- Albert Einstein
- Albert Einstein
- FilipeCaceres Offline
- Mensagens: 2504
- Registrado em: 16 Nov 2009, 20:47
- Agradeceu: 79 vezes
- Agradeceram: 974 vezes
Nov 2011
30
20:46
Re: Maratona de Física IME/ITA
Solução do Problema 18
No equilíbrio temos que,
[tex3]T^2=F_{el} ^2 +P^2[/tex3]
[tex3]F_{el}= eq[/tex3]
[tex3]P=mg[/tex3]
[tex3]T^2=(eq)^2 +(mg)^2[/tex3]
Do enuncidado,
[tex3]T_{max}=4mg[/tex3]
Temos que,
[tex3]T\leq T_{max}[/tex3]
[tex3](eq)^2 +(mg)^2\leq 16(mg)^2[/tex3]
[tex3](eq)^2 \leq 15(mg)^2[/tex3]
[tex3]\boxed{\left(q\frac{V}{d}\right)^2\leq 15(mg)^2}[/tex3]. Letra C
---------------------------------------------------------
Problema 19
(ITA-1981) No barco da figura há um homem de massa 60kg subindo uma escada solidária ao barco de inclinada de 60º sobre o plano horizontal. Sabe-se que os degraus da escada estão distanciada de 60º sobre o plano horizontal. Sabe-se que os degraus da escada estão distanciados de 20 cm um do outro e que o homem galga um degrau por segundo. A massa total do sistema barco mais escada é 300 kg. Sabendo que inicialmente o barco e o homem estavam em repouso em relação à água, podemos concluir que o barco passará a mover-se com velocidade de:
a) [tex3]10\,cm/s[/tex3]
b) [tex3]2,0\,cm/s[/tex3]
c) [tex3]2,5\,cm/s[/tex3]
d) [tex3]10\sqrt{3}\,cm/s[/tex3]
e) [tex3]1,66\,cm/s[/tex3]
Letra E
[tex3]T^2=F_{el} ^2 +P^2[/tex3]
[tex3]F_{el}= eq[/tex3]
[tex3]P=mg[/tex3]
[tex3]T^2=(eq)^2 +(mg)^2[/tex3]
Do enuncidado,
[tex3]T_{max}=4mg[/tex3]
Temos que,
[tex3]T\leq T_{max}[/tex3]
[tex3](eq)^2 +(mg)^2\leq 16(mg)^2[/tex3]
[tex3](eq)^2 \leq 15(mg)^2[/tex3]
[tex3]\boxed{\left(q\frac{V}{d}\right)^2\leq 15(mg)^2}[/tex3]. Letra C
---------------------------------------------------------
Problema 19
(ITA-1981) No barco da figura há um homem de massa 60kg subindo uma escada solidária ao barco de inclinada de 60º sobre o plano horizontal. Sabe-se que os degraus da escada estão distanciada de 60º sobre o plano horizontal. Sabe-se que os degraus da escada estão distanciados de 20 cm um do outro e que o homem galga um degrau por segundo. A massa total do sistema barco mais escada é 300 kg. Sabendo que inicialmente o barco e o homem estavam em repouso em relação à água, podemos concluir que o barco passará a mover-se com velocidade de:
a) [tex3]10\,cm/s[/tex3]
b) [tex3]2,0\,cm/s[/tex3]
c) [tex3]2,5\,cm/s[/tex3]
d) [tex3]10\sqrt{3}\,cm/s[/tex3]
e) [tex3]1,66\,cm/s[/tex3]
Resposta
Letra E
Editado pela última vez por FilipeCaceres em 30 Nov 2011, 20:46, em um total de 3 vezes.
- FilipeCaceres Offline
- Mensagens: 2504
- Registrado em: 16 Nov 2009, 20:47
- Agradeceu: 79 vezes
- Agradeceram: 974 vezes
Dez 2011
02
22:18
Re: Maratona de Física IME/ITA
Solução do Problema 19
Na horizontal o barco andando com velocidade V para a esquerda e o homem para direita com velocidade relativa ao barco [tex3]v\cos \alpha -V[/tex3]
Usando quantidade de movimento temos que,
[tex3]Q_{ix}=Q_{fx}[/tex3]
[tex3]0=-MV+m(v\cos \alpha-V)[/tex3]
[tex3]V=\frac{mv\cos \alpha}{m+M}[/tex3]
Substituindo os valores,
[tex3]V=\frac{60\cdot 20\cdot 0,5}{360}[/tex3]
[tex3]\boxed{V=1,66\,cm/s}[/tex3]. Letra E
---------------------------------------
Problema 20
(IME - 1980/81) Uma bola de bilhar atinge a tabela S da mesa no ponto B com uma velocidade “v” e coeficiente de restituição igual a [tex3]0,5[/tex3]. Considerando a bola como uma partícula, determine o ângulo [tex3]\alpha[/tex3] e a velocidade em que seguirá a bola, após o seu segundo contato com a tabela.
[tex3]\alpha =75[/tex3]
[tex3]v_f=\frac{v_i}{2}[/tex3]
Na horizontal o barco andando com velocidade V para a esquerda e o homem para direita com velocidade relativa ao barco [tex3]v\cos \alpha -V[/tex3]
Usando quantidade de movimento temos que,
[tex3]Q_{ix}=Q_{fx}[/tex3]
[tex3]0=-MV+m(v\cos \alpha-V)[/tex3]
[tex3]V=\frac{mv\cos \alpha}{m+M}[/tex3]
Substituindo os valores,
[tex3]V=\frac{60\cdot 20\cdot 0,5}{360}[/tex3]
[tex3]\boxed{V=1,66\,cm/s}[/tex3]. Letra E
---------------------------------------
Problema 20
(IME - 1980/81) Uma bola de bilhar atinge a tabela S da mesa no ponto B com uma velocidade “v” e coeficiente de restituição igual a [tex3]0,5[/tex3]. Considerando a bola como uma partícula, determine o ângulo [tex3]\alpha[/tex3] e a velocidade em que seguirá a bola, após o seu segundo contato com a tabela.
Resposta
[tex3]\alpha =75[/tex3]
[tex3]v_f=\frac{v_i}{2}[/tex3]
Editado pela última vez por FilipeCaceres em 02 Dez 2011, 22:18, em um total de 3 vezes.
-
- Tópicos Semelhantes
- Resp.
- Exibições
- Últ. msg
-
- 158 Resp.
- 134227 Exibições
-
Últ. msg por caju
-
- 64 Resp.
- 59414 Exibições
-
Últ. msg por FilipeCaceres
-
- 9 Resp.
- 23954 Exibições
-
Últ. msg por caju
-
- 27 Resp.
- 37237 Exibições
-
Últ. msg por Tassandro
-
- 144 Resp.
- 101071 Exibições
-
Últ. msg por FilipeCaceres
![🔴 [ENEM 2025 PPL Live 03] Matemática - Resolução de 146 até 150](/cdn-cgi/image/width=200,dpr=2,quality=85,format=auto,metadata=none,onerror=redirect/https://img.youtube.com/vi/fD8ohgS6JKo/mqdefault.jpg)
![🔴 [ENEM 2025 PPL Live 02] Matemática - Resolução de 141 até 145](/cdn-cgi/image/width=200,dpr=2,quality=85,format=auto,metadata=none,onerror=redirect/https://img.youtube.com/vi/np7jAEKAjTE/mqdefault.jpg)
![🔴 [ENEM 2025 PPL Live 01] Matemática - Resolução de 136 até 140](/cdn-cgi/image/width=200,dpr=2,quality=85,format=auto,metadata=none,onerror=redirect/https://img.youtube.com/vi/vb1b6e7VXjw/mqdefault.jpg)
![🔴 [ENEM 2025 Belém Live 09] Matemática - Resolução de 176 até 180](/cdn-cgi/image/width=200,dpr=2,quality=85,format=auto,metadata=none,onerror=redirect/https://img.youtube.com/vi/krrZ-ei9zSY/mqdefault.jpg)
![🔴 [ENEM 2025 Belém Live 08] Matemática - Resolução de 171 até 175](/cdn-cgi/image/width=200,dpr=2,quality=85,format=auto,metadata=none,onerror=redirect/https://img.youtube.com/vi/MvNi78z2R8o/mqdefault.jpg)
![🔴 [ENEM 2025 Belém Live 07] Matemática - Resolução de 166 até 170](/cdn-cgi/image/width=200,dpr=2,quality=85,format=auto,metadata=none,onerror=redirect/https://img.youtube.com/vi/X_1EIDOwGVg/mqdefault.jpg)