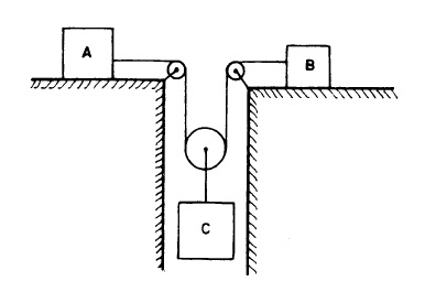
No sistema representado na figura, os fios são inextensíveis e de massa desprezíveis. Desprezam-se os atritos e as massas das polias. As massas dos blocos [tex3]A[/tex3], [tex3]B[/tex3] e [tex3]C[/tex3] são respectivamente iguais a [tex3]15\text{ kg}[/tex3], [tex3]10\text{ kg}[/tex3] e [tex3]24\text{ kg}[/tex3]. Considerando a aceleração da gravidade constante e de módulo [tex3]10\text{ m/s^2}[/tex3], os módulos das acelerações [tex3]\vec{a_A}[/tex3], [tex3]\vec{a_B}[/tex3] e [tex3]\vec{a_C}[/tex3] (em [tex3]m/s^2[/tex3]) são, respectivamente
(A) [tex3]5,0[/tex3], [tex3]6,0[/tex3], [tex3]5,0[/tex3].
(B) [tex3]5,0[/tex3], [tex3]4,0[/tex3], [tex3]6,0[/tex3].
(C) [tex3]6,0[/tex3], [tex3]6,0[/tex3], [tex3]5,0[/tex3].
(D) [tex3]4,0[/tex3], [tex3]6,0[/tex3], [tex3]5,0[/tex3].
(E) [tex3]4,0[/tex3], [tex3]4,0[/tex3], [tex3]2,0[/tex3].
IME/ITA ⇒ (Escola Naval - 1993) Mecânica Tópico resolvido
- ALDRIN Offline
- Mensagens: 4857
- Registrado em: 09 Abr 2008, 16:20
- Localização: Brasília-DF
- Agradeceu: 2622 vezes
- Agradeceram: 311 vezes
Jul 2012
31
17:40
(Escola Naval - 1993) Mecânica
Editado pela última vez por ALDRIN em 31 Jul 2012, 17:40, em um total de 1 vez.
"O ângulo inscrito no semicírculo é reto."
Ao descobrir essa verdade Tales fez sacrifício aos deuses.
Hoefer, H., 80.
Ao descobrir essa verdade Tales fez sacrifício aos deuses.
Hoefer, H., 80.
- felps Offline
- Mensagens: 847
- Registrado em: 08 Dez 2011, 18:25
- Agradeceu: 277 vezes
- Agradeceram: 191 vezes
Jul 2012
31
18:08
Re: (Escola Naval - 1993) Mecânica
Pelo que eu entendi, o que tem no meio é uma roldana.
[tex3]P_C = 24 \times 10[/tex3]
[tex3]P_C = 240N[/tex3]
Como tem a roldana, o peso é dividido por [tex3]2[/tex3].
Como são dois blocos, metade da força puxa cada um.
[tex3]60 = 15a_A[/tex3]
[tex3]\boxed{a_A = 4 m/s^2}[/tex3]
[tex3]60 = 10a_B[/tex3]
[tex3]\boxed{a_B = 6m/s^2}[/tex3]
[tex3]240 - 120 = 24a_C[/tex3]
[tex3]\boxed{a_C = 5m/s^2}[/tex3]
Letra D
[tex3]P_C = 24 \times 10[/tex3]
[tex3]P_C = 240N[/tex3]
Como tem a roldana, o peso é dividido por [tex3]2[/tex3].
Como são dois blocos, metade da força puxa cada um.
[tex3]60 = 15a_A[/tex3]
[tex3]\boxed{a_A = 4 m/s^2}[/tex3]
[tex3]60 = 10a_B[/tex3]
[tex3]\boxed{a_B = 6m/s^2}[/tex3]
[tex3]240 - 120 = 24a_C[/tex3]
[tex3]\boxed{a_C = 5m/s^2}[/tex3]
Letra D
Editado pela última vez por caju em 30 Mar 2025, 09:49, em um total de 2 vezes.
Razão: tex --> tex3
Razão: tex --> tex3
"É melhor lançar-se à luta em busca do triunfo,mesmo expondo-se ao insucesso,do que ficar na fila dos pobres de espírito,que nem gozam muito nem sofrem muito,por viverem nessa penumbra cinzenta de não conhecer vitória e nem derrota" F. Roosevelt
- debffernandes Offline
- Mensagens: 1
- Registrado em: 10 Jun 2021, 10:14
Jun 2021
10
10:19
Re: (Escola Naval - 1993) Mecânica
Não entendi por que a tensão do fio é de 60N... ?
-
- Tópicos Semelhantes
- Resp.
- Exibições
- Últ. msg
-
- 1 Resp.
- 858 Exibições
-
Últ. msg por Thales Gheós
-
- 1 Resp.
- 1238 Exibições
-
Últ. msg por Thales Gheós
-
- 1 Resp.
- 1081 Exibições
-
Últ. msg por adrianotavares
-
- 1 Resp.
- 988 Exibições
-
Últ. msg por jgpret
-
- 2 Resp.
- 1310 Exibições
-
Últ. msg por ViniciusHarlock
![🔴 [ENEM 2025 PPL Live 05] Matemática - Resolução de 156 até 160](/cdn-cgi/image/width=200,dpr=2,quality=85,format=auto,metadata=none,onerror=redirect/https://img.youtube.com/vi/m2T1rBKy2qU/mqdefault.jpg)
![🔴 [ENEM 2025 PPL Live 04] Matemática - Resolução de 151 até 155](/cdn-cgi/image/width=200,dpr=2,quality=85,format=auto,metadata=none,onerror=redirect/https://img.youtube.com/vi/1scCX1e_dZo/mqdefault.jpg)
![🔴 [ENEM 2025 PPL Live 03] Matemática - Resolução de 146 até 150](/cdn-cgi/image/width=200,dpr=2,quality=85,format=auto,metadata=none,onerror=redirect/https://img.youtube.com/vi/fD8ohgS6JKo/mqdefault.jpg)
![🔴 [ENEM 2025 PPL Live 02] Matemática - Resolução de 141 até 145](/cdn-cgi/image/width=200,dpr=2,quality=85,format=auto,metadata=none,onerror=redirect/https://img.youtube.com/vi/np7jAEKAjTE/mqdefault.jpg)
![🔴 [ENEM 2025 PPL Live 01] Matemática - Resolução de 136 até 140](/cdn-cgi/image/width=200,dpr=2,quality=85,format=auto,metadata=none,onerror=redirect/https://img.youtube.com/vi/vb1b6e7VXjw/mqdefault.jpg)
![🔴 [ENEM 2025 Belém Live 09] Matemática - Resolução de 176 até 180](/cdn-cgi/image/width=200,dpr=2,quality=85,format=auto,metadata=none,onerror=redirect/https://img.youtube.com/vi/krrZ-ei9zSY/mqdefault.jpg)