• 🔴 [ENEM 2025 PPL Live 03] Matemática - Resolução de 146 até 150
  • 🔴 [ENEM 2025 PPL Live 02] Matemática - Resolução de 141 até 145
  • 🔴 [ENEM 2025 PPL Live 01] Matemática - Resolução de 136 até 140
  • 🔴 [ENEM 2025 Belém Live 09] Matemática - Resolução de 176 até 180
  • 🔴 [ENEM 2025 Belém Live 08] Matemática - Resolução de 171 até 175
  • 🔴 [ENEM 2025 Belém Live 07] Matemática - Resolução de 166 até 170

Questões PerdidasEquilíbrio de Ponto Material Tópico resolvido

Aqui ficará uma coletânea de questões antigas, com mais de 1 ano, que não foram respondidas ainda. Não é possível postar novas questões nesse fórum, apenas é possível resolver as que forem movidas para cá pelos moderadores.
Se você tiver uma sugestão de questão perdida, envie uma mensagem privada para um de nossos moderadores para que ele mova a mensagem para cá.
Avatar do usuário
Sganzela Offline
sênior
Mensagens: 20
Registrado em: 19 Abr 2018, 17:01
Agradeceu: 2 vezes
Mai 2018 03 11:12

Equilíbrio de Ponto Material

Mensagem por Sganzela »

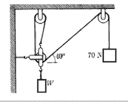
Um pedreiro decidiu prender uma luminária de 6 kg entre duas paredes. Para isso dispunha de um fio ideal de 1,3 m que foi utilizado totalmente e sem nenhuma perda, conforme pode ser observado na figura. Sabendo que o sistema está em equilíbrio estático, determine o valor, em N, da tração que existe no pedaço do fio ideal preso à parede. Adote o módulo da aceleração da gravidade no local igual a 10 m/s2 .
fisiii.png
fisiii.png (34.27 KiB) Exibido 6853 vezes
a) 30
b) 40
c) 50
d) 60
Resposta

Gabarito: c
PS: já vi algumas resoluções onde as trações são decompostas no eixo x e y.. mas queria perguntar se há outras formas de resolver essa questão..
Desde já agradeço!! abçs
Editado pela última vez por MateusQqMD em 13 Abr 2020, 02:12, em um total de 1 vez.
Razão: colocar spoiler no gabarito.
Movido de Física I para Questões Perdidas em 12 Abr 2020, 22:44 por MateusQqMD

Avatar do usuário
Planck Offline
5 - Mestre
Mensagens: 2863
Registrado em: 15 Fev 2019, 21:59
Agradeceu: 206 vezes
Agradeceram: 985 vezes
Abr 2020 12 23:25

Re: Equilíbrio de Ponto Material

Mensagem por Planck »

Olá, Sganzela.

Há outra forma, pelo Teorema de Lamy. É basicamente uma Lei dos Senos com vetores. Tomando [tex3]\vec{\text {P}}[/tex3] como o peso do bloco, [tex3]\vec{\text T}_1[/tex3] como a tração no fio da esquerda, [tex3]\vec{ \text T}_2[/tex3] como a tração no fio da direita, [tex3]\vec{\text {N}}_1[/tex3] como a normal na parede da esquerda e [tex3]\vec{\text {N}}_2[/tex3] como a normal na parede da direita, podemos obter um triângulo retângulo, formado pelos vetores. O triângulo, pode ser dado por [tex3]\underbrace{|\vec{\text {N}}_1| +|\vec{\text N}_2|}_{2\cdot|\vec{\text N}|}, ~ \vec{\text P} ~\text { e } ~ \underbrace{|\vec{\text {T}}_1| + |\vec{\text T}_2|}_{2\cdot|\vec{\text T}|}.[/tex3] Além disso, note que será um triângulo pitagórico, com ângulos de [tex3]90 \degree[/tex3] de frente para hipotenusa [tex3]2\cdot \vec{\text T},[/tex3] [tex3]37 \degree[/tex3] de frente para [tex3]\vec{\text P}[/tex3] e [tex3]53 \degree[/tex3] de frente para [tex3]2\cdot \vec{\text N}[/tex3]. Disso, temos que:

[tex3]\frac{2\cdot \vec{ \text T}}{\sen 90 \degree} = \frac{\vec{\text P}}{\sen 37 \degree } \implies |\vec{\text T}| =\frac{1}{2} \cdot \frac{5}{3}\cdot60 = 50 \text { N }[/tex3]
Responder
  • Tópicos Semelhantes
    Resp.
    Exibições
    Últ. msg

Voltar para “Questões Perdidas”